注意:访问本站需要Cookie和JavaScript支持!请设置您的浏览器! 打开购物车 查看留言付款方式联系我们
初中电子 单片机教材一 单片机教材二
搜索上次看见的商品或文章:
商品名、介绍 文章名、内容
首页 电子入门 学单片机 免费资源 下载中心 商品列表 象棋在线 在线绘图 加盟五一 加入收藏 设为首页
本站推荐:
多用途超声波微型雾化器
文章长度[1718] 加入时间[2007/1/4] 更新时间[2025/10/31 4:24:26] 级别[0] [评论] [收藏]

作者:新力 来源:《电子报》|成都

  笔者介绍一种多用途的超声波雾化器。该雾化器具有以下特点:分体式,即超声雾化头与电源和电路部分完全分离;便携式,体积小、即插即用、设有自保功能;高可靠,可全天候工作;雾化量大,与别墅的山水盆景配套可发生云雾缭绕的动感;特别适合过分干燥的环境对空气加湿,以利人的呼吸;在水中加入适量的某种溶剂,给被污染的居住环境消毒,以预防疾病(如把生活用醋定时雾化,可预防流感);雾化器(成品)售价低、性价比高,欲自制雾化器,仅器材和工时费也难敌上述的性价比。
  一、电路工作原理

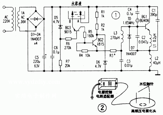
   该雾化器电路如图1所示,电源经变压器B(AC220V/30W)降压(36V)送D1-D4整流和C5、C6滤波后给电路提供工作电压。雾化器工作电路由振荡器、换能器和水位控制电路等组成。
  1.振荡器和换能器,电路中的振荡器是一种由高频压电陶瓷片TD(超声换能器)组成的工作振荡器,其振荡频率为1.65MHz(决定于选定的TD)。晶体三极管BG1和电容器C1、C2等构成电容三点式振荡器电路。C1和电感L1等效并联的谐振频率比工作频率低,其作用是决定工作振荡器的振荡幅度;C2和电感L2等效串联的谐振频率比工作频率高,其作用是决定工作振荡器的反馈量,以保证振荡器起振和维持电路的可靠振荡。压电陶瓷片TD具有很大的等效电感,它除决定电路的工作频率外,同时又是雾化器的工作负载。若更换压电陶瓷片TD,无需调整电路其他参数,其振荡器频率也能自动跟踪新的压电陶瓷片的频率而工作。
  2.水位控制和偏置电路电路中的超声换能器TD(又称雾化头)和其上安装的两根水位控制触针,他们是浸没在浅水水溶液中工作的。若长期雾化,一旦液面降低而使雾化头的水位控制触针露出水面时,振荡器会自动停止工作,这也避免了雾化头因发热而损坏。
  图1电路中的BG2、BG3管、触针A、B以及相关的电阻,共同组成水位控制电路。电路工作时,电源通过触针A、B和水溶液给BG3的射极提供电源。BG3管导通工作。BG2管起开关作用。当BG3工作时,BG2管也导通,电源通过BG3、BG2、R3、L3向BG1管提供偏置电流,使BG1管振荡工作。一旦液面降低、控制触针露出水面,电源到BG3管的通路被切断,BG3管截止,BG2开关也断开,此时BG1因无偏置电流而迅速停止振荡。调整电阻R3的阻值,可以直接改变BG1管的偏置电流,所以振荡器的调试十分简单和方便。电路中的D7是BG1管be结的保护二极管。
  二、超声雾化器结构和使用方法
  1.雾化器结构, 该雾化器外形如图2所示。雾化头外壳是铜质材料的铸件,铜壳表面镀铬抛光,其外形尺寸为442mm×l5mm,铜壳内封装有换能器(镍或钛高频压电片)和功率管BG1,换能器紧贴BG1管以利工作时在溶液中散热。铸件铜壳是可拆卸的,只需旋转壳面上的定位口,即可更换压电片。此外两根水位控制触针紧固在铜壳内,并按一定距离排列再垂直伸出壳外一定高度,以便控制被雾化溶液的最低水位。
  雾化器电源和工作电路都单独装在一个工程塑料壳内,当该装置的输入插入电源后,输出会通过导线给雾化头供电工作。据称该雾化器厂家,不仅提供雾化器成品,也提供全套散件出售。
  2, 使用方法,若将该雾化器用于室内加湿或消毒,可准备一个小塑料盆,盆内盛一定量的溶液,溶液量不宜太多(浅水为准),仅比水位触针高出一定距离即可(溶液太深其雾化量相对减小)。再把雾化头平放、两根触针向上浸在溶液中,这时只需插上电源,溶液立刻开始雾化。若该雾化器用于盆景,可参照上述方法进行。

1、 本站不保证以上观点正确,就算是本站原创作品,本站也不保证内容正确。
2、如果您拥有本文版权,并且不想在本站转载,请书面通知本站立即删除并且向您公开道歉! 以上可能是本站收集或者转载的文章,本站可能没有文章中的元件或产品,如果您需要类似的商品请 点这里查看商品列表!
本站协议 | 版权信息 |  关于我们 |  本站地图 |  营业执照 |  发票说明 |  付款方式 |  联系方式
深圳市宝安区西乡五壹电子商行——粤ICP备16073394号-1;地址:深圳西乡河西四坊183号;邮编:518102
E-mail:51dz$163.com($改为@);Tel:(0755)27947428
工作时间:9:30-12:00和13:30-17:30和18:30-20:30,无人接听时可以再打手机13537585389